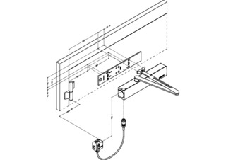
Link arm 1-leaf

TS 4000 E * Overhead door closer with link arm for single leaf doors of up to 1400 mm leaf width with electric hold-open device

Door closer TS 4000 E Overhead door closer with electrohydraulic hold-open function according to EN 1155, closing force size 1-6
  • Closing force EN 1-6 with variable adjustment
  • Operating voltage 24 V DC
  • Can be used for right and left hand doors without conversion
  • Electric hold-open device with hold-open area 80°-175°
  • Electric hold-open device in accordance with EN 1155 suitable for hold-open systems
  • Mechanical latching action which accelerates the door shortly before the closed position
Show more
  • Closing speed can be individually adjusted
  • Visual closing force display for easy control of the setting
  • All functions can be set from the front (except for latching action)
Contact us

Application Areas

  • Fire and smoke protection doors
  • Right and left single-action doors
  • Single-action doors up to 1400 mm leaf width
  • Door leaf installation hinge side and transom installation opposite hinge side

Technical data

TS 4000 E
Closing force in accordance with EN 1154 EN 1 - 6
Barrier-free in accordance with DIN 18040 up to leaf width (max.) in mm 1400 mm
Leaf width (max.) 1400 mm
Type of installation Door leaf installation hinge side, Transom installation opposite hinge side
Opening angle (max.) 180 °
Input voltage 24 V DC
Suitability for fire protection doors Yes
Closing force adjustable Yes, stepless
Adjustable closing speed Yes
Latching action adjustable Yes, via link arm
Position of closing force adjustment Front
Visual closing force display Yes
Hold-open function Electrical
Hold-open range 80 ° - 175 °

Downloads

Variants & Accessories

Contact

ZA GEZE Central +27-11-315-8286 24h Service Hotline +27-10-500-0552